بهینه سازی چندمطالعه ای یک براکت
معرفی
در برخی از زمینه های کاربردی، تمرکز زیادی بر کاهش وزن وجود دارد. به عنوان مثال، این مورد در صنعت خودروسازی است که در آن هر گرم یک برچسب قیمت مشخص دارد.
در این مدل، وزن یک براکت نصب کاهش مییابد، با توجه به یک کران بالا در تنشها و یک کران پایین در اولین فرکانس طبیعی.
براکت برای نصب یک جزء سنگین بر روی پایه لرزان استفاده می شود. بنابراین مهم است که فرکانس طبیعی را به خوبی بالاتر از فرکانس تحریک نگه دارید تا از تشدید جلوگیری شود. براکت همچنین تحت بارهای ضربه ای قرار می گیرد که می تواند به عنوان یک بار شتاب استاتیک در نظر گرفته شود. این یک مسئله بهینه سازی می دهد، جایی که نتایج حاصل از دو نوع مطالعه مختلف باید به طور همزمان در نظر گرفته شوند.
توجه: این برنامه به ماژول مکانیک سازه و ماژول طراحی نیاز دارد.
تعریف مدل
براکت اصلی همراه با یک جزء نصب شده طراحی شده در شکل 1 نشان داده شده است . براکت از فولاد ساخته شده است.
قطعه ای که در مقایسه با براکت می تواند صلب در نظر گرفته شود، مرکز ثقل آن در مرکز برش دایره ای در براکت است. جرم 4.4 کیلوگرم، ممان اینرسی حول محور طولی آن 7.1 · 10-4 kg·m 2 و ممان اینرسی حول دو محور عرضی 9.3· 10-4 kg·m 2 است .

شکل 1: براکتی که از یک جزء سنگین پشتیبانی می کند.
ایده این است که وزن را با سوراخ کردن سطح عمودی براکت کاهش دهیم و در عین حال ابعاد فرورفتگی ها را تغییر دهیم تا از دست دادن سفتی جبران شود.
پارامترهای بهینه سازی
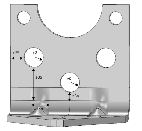
در بهینه سازی از شش پارامتر هندسی استفاده شده است. آنها در جدول 1 خلاصه شده و در شکل 2 نشان داده شده است .
پارامتر | شرح | حد پایین (میلی متر) | حد بالایی (میلی متر) |
rC | شعاع سوراخ مرکزی | 3 | 15 |
zCo | فاصله عمودی از خم تا لبه سوراخ مرکزی | 1 | 23 |
rO | شعاع سوراخ بیرونی | 3 | 15 |
باغ وحش | فاصله عمودی از خم تا لبه سوراخ بیرونی | 8 | 30 |
اوو | فاصله افقی از لبه براکت تا سوراخ بیرونی | 3 | 29 |
باد | عرض تورفتگی | 8 | 20 |

شکل 2: پارامترهای بهینه سازی.
محدودیت ها
• | کمترین فرکانس طبیعی باید حداقل 60 هرتز باشد. |
• | هنگامی که در معرض حداکثر شتاب 4 گرم در هر سه جهت جهانی به طور همزمان، تنش معادل مجاز نیست در هیچ کجا بیش از 80 مگاپاسکال باشد. این معیار غیر قابل تمایز است، زیرا محل تنش اوج می تواند از یک مکان به مکان دیگر بپرد. بنابراین باید از یک الگوریتم بهینه سازی بدون گرادیان استفاده شود. |
• | بین دو سوراخ یا بین یک سوراخ و یک لبه باید حداقل 3 میلی متر ماده وجود داشته باشد. این معیار هم از طریق محدودیت های روی پارامترهای کنترلی و هم به عنوان محدودیت ها اعمال می شود. محدودیت های هندسی در شکل 3 نشان داده شده است . ![]() |
شکل 3: محدودیت های هندسی.
حل کننده COBYLA از نمونه برداری در فضای متغیر کنترلی برای تقریب تابع هدف، محدودیت ها و کران های متغیر کنترل استفاده می کند. نمونه های منفرد ممکن است خارج از محدوده و با نقض محدودیت ها محاسبه شوند. بنابراین، مهم است که هندسه را به گونهای تنظیم کنیم که با توجه به محدودیتهای (کوچک) و نقض محدودیتها قوی باشد.
مرزها و قیود خطی معمولاً به دقت بالا در نقطه بهینه که توسط حلکننده بازگردانده میشود برآورده میشوند، اما محدودیتهای غیرخطی اغلب کمی نقض میشوند. دلیل آن این است که حل کننده تمایل دارد از خارج از دامنه امکان پذیر همگرا شود و قبل از برآورده شدن کامل محدودیت ها به پایان می رسد. تشدید تلورانس های حل کننده، نقض محدودیت را کاهش می دهد، اما اغلب ارزش تلاش محاسباتی را ندارد. بهتر است محدودیت ها را با حاشیه ایمنی مشخص کنید.
نتایج و بحث
هندسه اولیه مورد استفاده در بهینه سازی در شکل 4 نشان داده شده است . سه سوراخ نسبتا کوچک معرفی شده است.

شکل 4: هندسه اولیه.
مقادیر بهینه پارامترهای هندسی در جدول 2 نشان داده شده است .
پارامتر | مقدار بهینه (MM) | حد پایین (میلی متر) | حد بالایی (میلی متر) |
rC | 11.8 | 3 | 15 |
zCo | 2.7 | 1 | 23 |
rO | 9.0 | 3 | 15 |
باغ وحش | 9.5 | 8 | 30 |
اوو | 22.3 | 3 | 29 |
باد | 20 | 8 | 20 |
وزن براکت بهینه شده حدود 188 گرم است که 17 گرم از 205 گرم اصلی کاهش یافته است . تنش های ناشی از بار ضربه ای بر روی هندسه بهینه شده در شکل 5 نشان داده شده است

شکل 5: تنش ها در اوج بار در طرح بهینه شده.
راه حل بهینه سه سوراخ نسبتا بزرگ و وسیع ترین فرورفتگی ممکن را به دست می دهد.
چندین ترتیب احتمالی از سوراخ ها وجود دارد که باعث کاهش وزن یکسان در یک تحمل کوچک می شود. بنابراین ممکن است که متغیرهای طراحی همیشه در همگرایی یکسان نباشند.
نکاتی درباره پیاده سازی COMSOL
قطعه نصب شده روی براکت با جزئیات مدل سازی نشده است. با یک اتصال صلب با خواص اینرسی معادل جایگزین شده است.
مسیر کتابخانه برنامه: Optimization_Module/Design_Optimization /multistudy_bracket_optimization
دستورالعمل های مدل سازی
از منوی File ، New را انتخاب کنید .
جدید
در پنجره جدید ، روی
Model Wizard کلیک کنید .
مدل جادوگر
1 | در پنجره Model Wizard ، روی |
2 | در درخت Select Physics ، Structural Mechanics>Solid Mechanics (جامد) را انتخاب کنید . |
3 | روی افزودن کلیک کنید . |
4 |
5 | در درخت انتخاب مطالعه ، General Studies>Eigenfrequency را انتخاب کنید . |
6 |
تعاریف جهانی
پارامترهای 1
1 | در پنجره Model Builder ، در قسمت Global Definitions روی Parameters 1 کلیک کنید . |
2 | در پنجره تنظیمات برای پارامترها ، بخش پارامترها را پیدا کنید . |
3 |
4 | به پوشه Application Libraries مدل بروید و روی فایل multistudy_bracket_optimization_parameters.txt دوبار کلیک کنید . |
هندسه 1
1 | در پنجره Model Builder ، در قسمت Component 1 (comp1) روی Geometry 1 کلیک کنید . |
2 | در پنجره تنظیمات هندسه ، بخش Units را پیدا کنید . |
3 | از لیست واحد طول ، میلی متر را انتخاب کنید . |
4 | قسمت Advanced را پیدا کنید . از لیست نمایش هندسه ، هسته CAD را انتخاب کنید . |
5 | کادر طراحی عملیات بولین ماژول را انتخاب کنید . |
دنباله هندسی برای مدل (به شکل 1 مراجعه کنید ) در یک فایل موجود است. اگر میخواهید خودتان آن را از ابتدا ایجاد کنید، میتوانید دستورالعملهای بخش دستورالعملهای مدلسازی هندسه را دنبال کنید . در غیر این صورت، دنباله هندسی را به صورت زیر وارد کنید:
6 | در نوار ابزار Geometry ، روی Insert Sequence کلیک کنید و Insert Sequence را انتخاب کنید . |
7 | به پوشه Application Libraries مدل بروید و روی فایل multistudy_bracket_optimization_geom_sequence.mph دوبار کلیک کنید . |
8 | در نوار ابزار Geometry ، روی |
مواد را اضافه کنید
1 | در نوار ابزار Home ، روی |
2 | به پنجره Add Material بروید . |
3 | در درخت، Built-in>Structural steel را انتخاب کنید . |
4 | روی Add to Component در نوار ابزار پنجره کلیک کنید . |
5 | در نوار ابزار Home ، روی |
مکانیک جامدات (جامدات)
ثابت (پیچ و مهره)
1 | در پنجره Model Builder ، در قسمت Component 1 (comp1) روی Solid Mechanics (solid) کلیک راست کرده و Fixed Constraint را انتخاب کنید . |
نحوه دقیق بستن پیچ و مهره براکت به فونداسیون برای نتایج بهینه سازی شده مهم نیست.
2 | در پنجره تنظیمات برای محدودیت ثابت ، در قسمت نوشتار برچسب ، Fixed (Bolts) را تایپ کنید . |
3 | فقط مرزهای 10-13 و 15-22 را انتخاب کنید. |
اتصال صلب (جزء نصب شده)
1 | در نوار ابزار Physics ، روی |
قطعه متصل شده دارای سفتی بالایی است و به دو سوراخ پیچ بالایی پیچ می شود. این مدل به عنوان صلب است و فقط دارای خواص جرمی است.
2 | در پنجره تنظیمات برای اتصال سخت ، در قسمت نوشتار برچسب ، کانکتور صلب (کامپوننت نصب شده) را تایپ کنید . |
3 | فقط مرزهای 48، 49، 52، 53 و 75-78 را انتخاب کنید. |
4 | قسمت مرکز چرخش را پیدا کنید . از لیست، User defined را انتخاب کنید . |
5 | بردار X c را به صورت مشخص کنید |
lX-thk/2 | ایکس |
lY/2 | y |
lZ | z |
جرم و لحظه اینرسی 1
1 | در نوار ابزار Physics ، روی |
2 | در پنجره تنظیمات Mass and Moment of Inertia ، بخش Mass and Moment of Inertia را پیدا کنید . |
3 | در قسمت متن m ، mCmp را تایپ کنید . |
4 | از لیست، مورب را انتخاب کنید . |
5 | در جدول I تنظیمات زیر را وارد کنید: |
IXCmp | 0 | 0 |
0 | IYZCmp | 0 |
0 | 0 | IYZCmp |
مش 1
مثلثی رایگان 1
1 | در نوار ابزار Mesh ، روی |
2 | فقط مرزهای 4، 8، 26، 30، 35، 39، 41، 44، 60 و 64 را انتخاب کنید. |
سایز 1
1 | روی Free Triangular 1 کلیک راست کرده و Size را انتخاب کنید . |
2 | در پنجره تنظیمات برای اندازه ، قسمت اندازه عنصر را پیدا کنید . |
3 | از لیست Predefined ، Finer را انتخاب کنید . |
4 | فقط مرزهای 4، 8، 26، 30، 44 و 64 را انتخاب کنید. |
سایز ۲
1 | روی Size 1 کلیک راست کرده و Duplicate را انتخاب کنید . |
2 | در پنجره تنظیمات برای اندازه ، قسمت اندازه عنصر را پیدا کنید . |
3 | از لیست از پیش تعریف شده ، Extra fine را انتخاب کنید . |
4 | قسمت انتخاب موجودیت هندسی را پیدا کنید . روی Clear Selection کلیک کنید . |
5 | فقط مرزهای 35، 39، 41 و 60 را انتخاب کنید. |
6 |
جارو 1
در نوار ابزار Mesh ، روی
Swept کلیک کنید .
توزیع 1
1 | روی Swept 1 کلیک راست کرده و Distribution را انتخاب کنید . |
2 | در پنجره تنظیمات برای توزیع ، بخش توزیع را پیدا کنید . |
3 | در فیلد متنی Number of element ، 3 را تایپ کنید . |
4 |
مطالعه فرکانس ویژه
یک مطالعه فرکانس ویژه بر روی هندسه اولیه انجام دهید.
1 | در پنجره Model Builder ، روی Study 1 کلیک کنید . |
2 | در پنجره تنظیمات برای مطالعه ، Eigenfrequency Study را در قسمت نوشتار Label تایپ کنید . |
3 | در نوار ابزار صفحه اصلی ، |
مکانیک جامدات (جامدات)
اوج بارها را اضافه کنید و یک مطالعه ثابت انجام دهید.
بار بدنه 4 گرم روی براکت
1 | در نوار ابزار Physics ، روی |
2 | در پنجره تنظیمات برای Body Load ، در قسمت نوشتار Label ، Body load 4g را در براکت تایپ کنید . |
3 | قسمت انتخاب دامنه را پیدا کنید . از لیست انتخاب ، همه دامنه ها را انتخاب کنید . |
4 | قسمت Force را پیدا کنید . بردار F V را به صورت مشخص کنید |
4*g_const*solid.rho | ایکس |
4*g_const*solid.rho | y |
4*g_const*solid.rho | z |
اتصال صلب (جزء نصب شده)
در پنجره Model Builder ، روی Rigid Connector (Mounted Component) کلیک کنید .
4 گرم را روی قطعه نصب شده فشار دهید
1 | در نوار ابزار Physics ، روی |
2 | در پنجره تنظیمات برای نیروی کاربردی ، Force 4g را بر روی مؤلفه نصب شده در قسمت نوشتار Label تایپ کنید . |
3 | قسمت Applied Force را پیدا کنید . بردار F را به صورت مشخص کنید |
4*g_const*mCmp | ایکس |
4*g_const*mCmp | y |
4*g_const*mCmp | z |
اضافه کردن مطالعه
1 | در نوار ابزار Home ، روی |
2 | به پنجره Add Study بروید . |
3 | زیربخش مطالعات را پیدا کنید . در درخت انتخاب مطالعه ، General Studies>Stationary را انتخاب کنید . |
4 | روی Add Study در نوار ابزار پنجره کلیک کنید . |
5 | در نوار ابزار Home ، روی |
مطالعه ثابت
1 | در پنجره Model Builder ، روی Study 2 کلیک کنید . |
2 | در پنجره تنظیمات برای مطالعه ، Stationary Study را در قسمت متن برچسب تایپ کنید . |
3 | در نوار ابزار صفحه اصلی ، |
تعاریف
با اضافه کردن متغیرهایی برای جرم براکت و حداکثر تنش، برای بهینهسازی آماده شوید.
دامنه بهینه سازی استرس
1 | در نوار ابزار تعاریف ، روی |
2 | در پنجره تنظیمات برای Explicit ، Stress Optimization Domain را در قسمت نوشتار Label تایپ کنید . |
3 | فقط دامنه های 3-10 را انتخاب کنید. |
Domain Probe 1 (dom1)
1 | در نوار ابزار تعاریف ، روی |
2 | در پنجره تنظیمات برای Domain Probe ، در قسمت متن نام متغیر ، mass را تایپ کنید . |
3 | قسمت Probe Type را پیدا کنید . از لیست Type ، Integral را انتخاب کنید . |
4 | روی Replace Expression در گوشه سمت راست بالای بخش Expression کلیک کنید . از منو، Component 1 (comp1)>Solid Mechanics>Material properties>solid.rho – Density – kg/m³ را انتخاب کنید . |
Domain Probe 2 (dom2)
1 | در نوار ابزار تعاریف ، روی |
2 | در پنجره تنظیمات برای Domain Probe ، در قسمت متن نام متغیر، maxStress را تایپ کنید . |
3 | قسمت Probe Type را پیدا کنید . از لیست نوع ، حداکثر را انتخاب کنید . |
4 | بخش انتخاب منبع را پیدا کنید . از لیست انتخاب ، دامنه بهینه سازی استرس را انتخاب کنید . |
5 | روی Replace Expression در گوشه سمت راست بالای بخش Expression کلیک کنید . از منو، Component 1 (comp1)>Solid Mechanics>Stress>solid.mises – von Mises stress – N/m² را انتخاب کنید . |
نتایج
نمودار تنش پیش فرض را برای نظارت بر هندسه و تنش ها در ناحیه بهینه شده اصلاح کنید.
استرس در منطقه بهینه
1 | در پنجره Model Builder ، در بخش Results روی Stress (solid) کلیک کنید . |
2 | در پنجره تنظیمات برای گروه طرح سه بعدی ، Stress را در قسمت Optimized Region در قسمت نوشتار Label تایپ کنید . |
جلد 1
1 | در پنجره Model Builder ، گره Stress in Optimized Region را گسترش دهید ، سپس روی Volume 1 کلیک کنید . |
2 | در پنجره تنظیمات برای حجم ، بخش Expression را پیدا کنید . |
3 | از لیست واحد ، MPa را انتخاب کنید . |
تغییر شکل
1 | در پنجره Model Builder ، گره Volume 1 را گسترش دهید . |
2 | روی Results>Stress in Optimized Region>Volume 1>Deformation کلیک راست کرده و Delete را انتخاب کنید . |
انتخاب 1
1 | در پنجره Model Builder ، روی Volume 1 کلیک راست کرده و Selection را انتخاب کنید . |
2 | در پنجره تنظیمات برای انتخاب ، قسمت انتخاب را پیدا کنید . |
3 | از لیست انتخاب ، دامنه بهینه سازی استرس را انتخاب کنید . |
4 |
ریشه
مطالعه بهینه سازی را تنظیم کنید.
اضافه کردن مطالعه
1 | در نوار ابزار Home ، روی |
2 | به پنجره Add Study بروید . |
3 | زیربخش مطالعات را پیدا کنید . در درخت Select Study ، Empty Study را انتخاب کنید . |
4 | روی Add Study در نوار ابزار پنجره کلیک کنید . |
5 | در نوار ابزار Home ، روی |
مطالعه بهینه سازی
در پنجره تنظیمات برای مطالعه ، Optimization Study را در قسمت نوشتار Label تایپ کنید .
بهينه سازي
در نوار ابزار مطالعه ، روی
Optimization کلیک کنید و Optimization را انتخاب کنید .
فرکانس خود
1 | در نوار ابزار مطالعه ، روی مرجع |
2 | در پنجره تنظیمات برای مرجع مطالعه ، Eigenfrequency را در قسمت نوشتار Label تایپ کنید . |
3 | بخش مرجع مطالعه را پیدا کنید . از لیست مرجع مطالعه ، Eigenfrequency Study را انتخاب کنید . |
ثابت
1 | در نوار ابزار مطالعه ، روی مرجع |
2 | در پنجره تنظیمات برای مرجع مطالعه ، Stationary را در قسمت نوشتار برچسب تایپ کنید . |
3 | بخش مرجع مطالعه را پیدا کنید . از لیست مرجع مطالعه ، Study Stationary را انتخاب کنید . |
بهينه سازي
1 | در پنجره Model Builder ، روی Optimization کلیک کنید . |
2 | در پنجره تنظیمات برای بهینه سازی ، بخش Optimization Solver را پیدا کنید . |
3 | از لیست روش ، COBYLA را انتخاب کنید . |
4 | زیربخش تنظیمات Solver را پیدا کنید . تیک گزینه Stop if error را پاک کنید . |
5 | قسمت Constraints را پیدا کنید . تیک گزینه Enforce design constraints به شدت را انتخاب کنید . |
6 | روی Replace Expression در گوشه سمت راست بالای بخش Objective Function کلیک کنید . از منو، Component 1 (comp1)>Definitions>comp1.mass – Domain Probe 1 – kg را انتخاب کنید . |
7 | قسمت Objective Function را پیدا کنید . در جدول تنظیمات زیر را وارد کنید: |
اصطلاح | شرح | ارزیابی برای |
comp1.mass | جرم براکت | ثابت |
اولین فرکانس ویژه باید در بهینه سازی استفاده شود.
8 | از لیست راه حل ، ابتدا استفاده را انتخاب کنید . |
9 | قسمت Control Variables and Parameters را پیدا کنید . |
10 | به پوشه Application Libraries مدل بروید و روی فایل multistudy_bracket_optimization_ctrlvars.txt دوبار کلیک کنید . |
11 | قسمت Constraints را پیدا کنید . در جدول تنظیمات زیر را وارد کنید: |
اصطلاح | کران پایین | کران بالا | ارزیابی برای |
واقعی (فرکانس) | minFreq | فرکانس خود | |
comp1. maxStress/maxStressLimit | 1 | ثابت | |
d_O_Cmp | 3[mm] | فرکانس خود | |
d_C_Cmp | 3[mm] | فرکانس خود | |
d_O_C | 3[mm] | فرکانس خود | |
d_O_O | 3[mm] | فرکانس خود |
12 | قسمت Output while Solving را پیدا کنید . کادر Plot را انتخاب کنید . |
13 | از لیست گروه Plot ، Stress in Optimized Region را انتخاب کنید . |
اگر برخی از تنظیمات معتبر نیستند، روند بهینه سازی همچنان باید ادامه یابد. پیش فرض این است که در صورت بروز خطا متوقف شود.
راه حل 3 (sol3)
1 | در نوار ابزار مطالعه ، روی |
بهینه سازی را اجرا کنید.
2 |
نتایج
در خط آخر جدول هدف 3 مجموعه بهینه پارامترها و حداقل وزن را خواهید یافت. توجه داشته باشید که مقدار در ستون Objective می تواند نارنجی رنگ شود اگر راه حل یک محدودیت را کمی نقض کند، اما همچنان در محدوده تحمل پذیرفته شود.
در آخرین خط از جدول 7 محدودیت های جهانی، مقادیر فرکانس طبیعی و حداکثر تنش در پیکربندی بهینه شده و همچنین مقادیر سایر محدودیت ها را خواهید یافت.
توزیع تنش را در پیکربندی بهینه بررسی کنید.
استرس در منطقه بهینه
1 | در پنجره Model Builder ، گره Results>Tables را گسترش دهید ، سپس روی Results>Stress in Optimized Region کلیک کنید . |
2 | در نوار ابزار Stress in Optimized Region ، روی ![]() |
دستورالعمل مدلسازی هندسه
اگر می خواهید هندسه را خودتان ایجاد کنید، این مراحل را دنبال کنید.
تعاریف جهانی
پارامترهای 1
1 | در پنجره Model Builder ، در قسمت Global Definitions روی Parameters 1 کلیک کنید . |
2 | در پنجره تنظیمات برای پارامترها ، بخش پارامترها را پیدا کنید . |
3 |
4 | به پوشه Application Libraries مدل بروید و روی فایل multistudy_bracket_optimization_geom_sequence_parameters.txt دوبار کلیک کنید . |
هندسه 1
1 | در پنجره Model Builder ، در قسمت Component 1 (comp1) روی Geometry 1 کلیک کنید . |
2 | در پنجره تنظیمات هندسه ، بخش Units را پیدا کنید . |
3 | از لیست واحد طول ، میلی متر را انتخاب کنید . |
4 | قسمت Advanced را پیدا کنید . از لیست نمایش هندسه ، هسته CAD را انتخاب کنید . |
5 | کادر طراحی عملیات بولین ماژول را انتخاب کنید . |
صفحه کار 1 (wp1)
1 | در نوار ابزار هندسه ، روی صفحه |
2 | در پنجره تنظیمات برای صفحه کار ، قسمت تعریف هواپیما را پیدا کنید . |
3 | از لیست Plane ، zy-plane را انتخاب کنید . |
4 | در قسمت متن مختصات x ، lX-rOut را تایپ کنید . |
5 |
صفحه کار 1 (wp1)> منحنی پارامتریک 1 (pc1)
1 | در نوار ابزار Work Plane ، روی |
2 | در پنجره تنظیمات برای منحنی پارامتری ، قسمت عبارات را پیدا کنید . |
3 | در قسمت نوشتار xw ، if((abs(s-0.5)<wInd/lY),dInd/2*(1+cos(pi*lY/if(wInd>4[mm],wInd,4[mm] را تایپ کنید )*(s-0.5)))، 0) . |
4 | در قسمت متن yw ، s*lY/2 را تایپ کنید . |
5 |
Work Plane 1 (wp1)>Copy 1 (copy1)
1 | در نوار ابزار Work Plane ، روی |
2 | فقط شیء pc1 را انتخاب کنید. |
3 | در پنجره تنظیمات برای کپی ، بخش Displacement را پیدا کنید . |
4 | در قسمت متن xw ، thk را تایپ کنید . |
صفحه کار 1 (wp1)> بخش خط 1 (ls1)
1 | در نوار ابزار Work Plane ، روی |
2 | در پنجره تنظیمات برای بخش خط ، بخش Starting Point را پیدا کنید . |
3 | از لیست Specify ، Coordinates را انتخاب کنید . |
4 | قسمت Endpoint را پیدا کنید . از لیست Specify ، Coordinates را انتخاب کنید . |
5 | در قسمت متن xw ، thk را تایپ کنید . |
Work Plane 1 (wp1)>Copy 2 (copy2)
1 | در نوار ابزار Work Plane ، روی |
2 | فقط شی ls1 را انتخاب کنید. |
3 | در پنجره تنظیمات برای کپی ، بخش Displacement را پیدا کنید . |
4 | در قسمت متن yw ، lY/2 را تایپ کنید . |
صفحه کار 1 (wp1)> تبدیل به جامد 1 (csol1)
1 | در نوار ابزار Work Plane ، روی |
2 | در پنجره Graphics کلیک کنید و سپس Ctrl+A را فشار دهید تا همه اشیا انتخاب شوند. |
3 | در پنجره تنظیمات برای تبدیل به جامد ، روی ![]() |
چرخش 1 (rev1)
1 | در پنجره Model Builder ، روی Geometry 1 کلیک راست کرده و Revolve را انتخاب کنید . |
2 | در پنجره تنظیمات برای Revolve ، بخش Revolution Angles را پیدا کنید . |
3 | روی دکمه Angles کلیک کنید . |
4 | در قسمت نوشتار زاویه پایان ، 90 را تایپ کنید . |
5 | قسمت Revolution Axis را پیدا کنید . از لیست نوع محور ، 3D را انتخاب کنید . |
6 | نقطه فرعی محور چرخش را پیدا کنید . در قسمت متن x ، lX-rOut را تایپ کنید . |
7 | در قسمت متن z ، rOut را تایپ کنید . |
8 | زیربخش جهت محور چرخش را پیدا کنید . در قسمت متن y ، -1 را تایپ کنید . |
9 |
بلوک 1 (blk1)
1 | در نوار ابزار Geometry ، روی |
2 | در پنجره تنظیمات برای Block ، قسمت Size and Shape را پیدا کنید . |
3 | در قسمت متن Width ، lX-rOut-2*thk را تایپ کنید . |
4 | در قسمت Depth text lY/2 را تایپ کنید . |
5 | در قسمت متن ارتفاع ، thk را تایپ کنید . |
6 |
Loft 1 (Loft1)
1 | در نوار ابزار Geometry ، روی |
2 | در پنجره تنظیمات Loft ، بخش General را پیدا کنید . |
3 | کادر تیک Unite with input objects را پاک کنید . |
4 | برای گسترش بخش Start Profile کلیک کنید . زیربخش نمایه شروع را پیدا کنید . برای انتخاب دکمه ضامن فعال کردن انتخاب کلیک کنید . |
5 | در شیء rev1 فقط مرز 1 را انتخاب کنید. |
6 | برای گسترش بخش پایان نمایه کلیک کنید . قسمت پایان مشخصات را پیدا کنید . برای انتخاب دکمه ضامن |
7 | در شیء blk1 ، فقط مرز 5 را انتخاب کنید. |
8 | ![]() |
آینه 1 (mir1)
1 | در نوار ابزار Geometry ، روی |
2 | فقط شی loft1 را انتخاب کنید. |
3 | در پنجره تنظیمات برای Mirror ، بخش ورودی را پیدا کنید . |
4 | کادر انتخاب Keep input objects را انتخاب کنید . |
5 | قسمت Point on Plane of Reflection را پیدا کنید . در قسمت متن x ، lX-rOut را تایپ کنید . |
6 | در قسمت متن z ، rOut را تایپ کنید . |
7 | بخش بردار عادی به صفحه بازتاب را پیدا کنید . در قسمت متن x ، 1 را تایپ کنید . |
8 |
بلوک 2 (بلک2)
1 | در نوار ابزار Geometry ، روی |
2 | در پنجره تنظیمات برای Block ، قسمت Size and Shape را پیدا کنید . |
3 | در قسمت متن Width ، thk را تایپ کنید . |
4 | در قسمت Depth text lY/2 را تایپ کنید . |
5 | در قسمت متن ارتفاع ، lZ-rOut-2*thk را تایپ کنید . |
6 | قسمت Position را پیدا کنید . در قسمت متن x ، lX-thk را تایپ کنید . |
7 | در قسمت متن z ، rOut+2*thk را تایپ کنید . |
8 | ![]() |
سیلندر 1 (cyl1)
1 | در نوار ابزار Geometry ، شش بار روی |
2 | در پنجره تنظیمات سیلندر ، بخشهای Size and Shape ، Position و Axis را پیدا کرده و تنظیمات زیر را برای شش گره جدید ایجاد شده تایپ کنید. |
نام | شعاع | ارتفاع | ایکس | Y | Z | نوع محور |
سیلندر 1 | dCmp/2 | 3*thk | lX-2*thk | lY/2 | lZ | محور x |
سیلندر 2 | bDia/2 | 3*thk | lX-2*thk | bDia | lZ-bDia | محور x |
سیلندر 3 | bDia/2 | 3*thk | lX-rOut-2*thk-bDia | lY/4 | -thk | محور z |
سیلندر 4 | bDia/2 | 3*thk | 1.5*bDia | lY/2 | -thk | محور z |
سیلندر 5 | rO | 3*thk | lX-2*thk | yO | مثل این | محور x |
سیلندر 6 | rC | 3*thk | lX-2*thk | lY/2 | zC | محور x |
3 | روی Geometry 1 کلیک راست کرده و Build All Objects را انتخاب کنید . ![]() |
صفحه کار 2 (wp2)
1 | در نوار ابزار هندسه ، روی صفحه |
2 | در پنجره تنظیمات برای صفحه کار ، قسمت تعریف هواپیما را پیدا کنید . |
3 | از لیست Plane ، yx-plane را انتخاب کنید . |
4 | در قسمت متن مختصات z ، 2*thk را تایپ کنید . |
5 |
صفحه کار 2 (wp2)> چند ضلعی 1 (pol1)
1 | در نوار ابزار Work Plane ، روی |
2 | در پنجره تنظیمات چند ضلعی ، بخش مختصات را پیدا کنید . |
3 | از فهرست منبع داده ، Vectors را انتخاب کنید . |
4 | در قسمت نوشتار xw ، 0 lY/2-bDia/2 lY/2-bDia/2 0 0 0 را تایپ کنید . |
5 | در قسمت متن yw ، 0 0 0 lX-rOut-2*thk lX-rOut-2*thk 0 را تایپ کنید . |
6 | ![]() |
اکسترود 1 (ext1)
1 | در پنجره Model Builder ، در قسمت Component 1 (comp1)>Geometry 1 روی Work Plane 2 (wp2) کلیک راست کرده و Extrude را انتخاب کنید . |
2 | در پنجره تنظیمات برای Extrude ، بخش Distances را پیدا کنید . |
3 | در جدول تنظیمات زیر را وارد کنید: |
فاصله ها (میلی متر) |
3*thk |
4 |
تفاوت 1 (dif1)
1 | در نوار ابزار Geometry ، روی |
2 | فقط اشیاء blk1 ، blk2 ، loft1 ، mir1 و rev1 را انتخاب کنید. |
3 | در پنجره تنظیمات برای تفاوت ، بخش تفاوت را پیدا کنید . |
4 | زیربخش اشیاء را برای تفریق پیدا کنید . برای انتخاب دکمه ضامن |
5 | فقط اشیاء cyl1 ، cyl2 ، cyl3 ، cyl4 ، cyl5 ، cyl6 و ext1 را انتخاب کنید. |
6 | ![]() |
آینه 2 (mir2)
1 | در نوار ابزار Geometry ، روی |
2 | در پنجره تنظیمات برای Mirror ، بخش ورودی را پیدا کنید . |
3 | کادر انتخاب Keep input objects را انتخاب کنید . |
4 | قسمت Point on Plane of Reflection را پیدا کنید . در قسمت متن y ، lY/2 را تایپ کنید . |
5 | بخش بردار عادی به صفحه بازتاب را پیدا کنید . در قسمت متن y ، 1 را تایپ کنید . |
6 | در قسمت متن z ، 0 را تایپ کنید . |
7 | فقط شی dif1 را انتخاب کنید. |
8 |
9 | ![]() |








